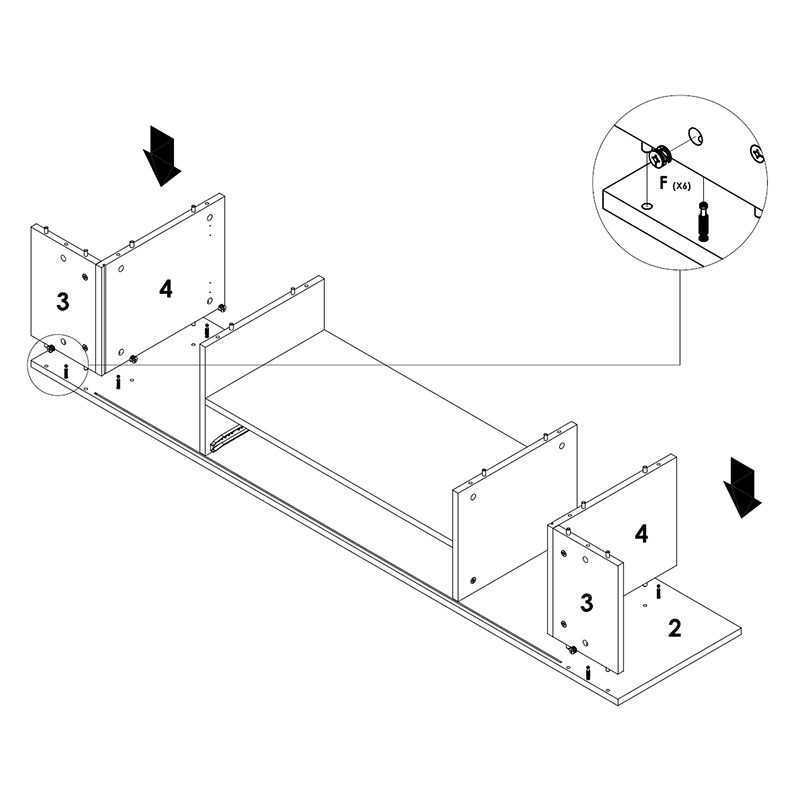
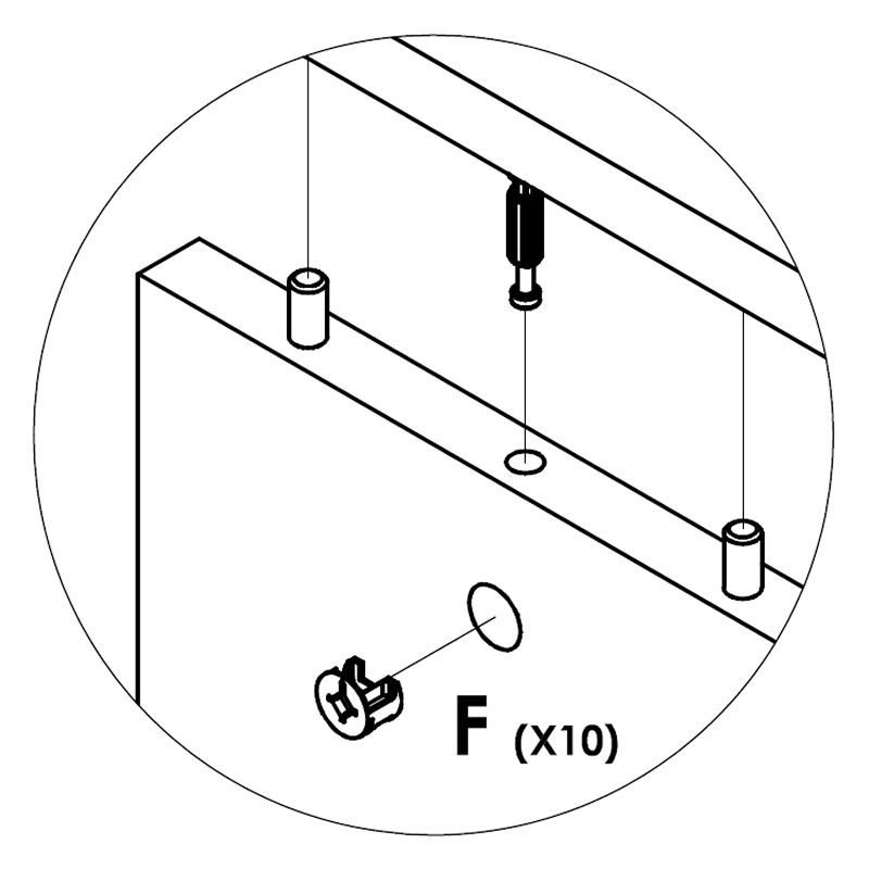
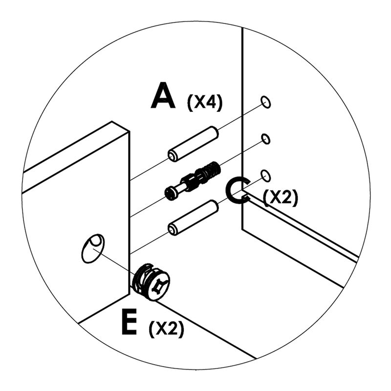
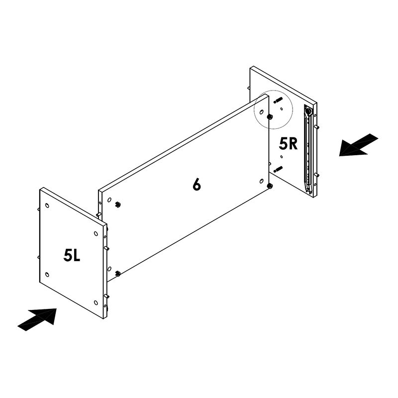
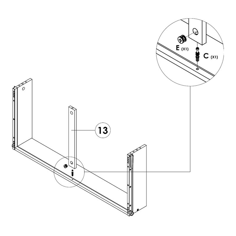
1. Assemble Bed
Start by assembling the bed frame
www.time4sleep.co.uk | ||||||||||
Instructions by time4sleep Vancouver Cabin BedAssembly instructions for Vancouver Cabin Bed by Time4Sleep. Product Information Vancouver Cabin BedOur Vancouver is a premium quality cabin bed finished in a soft white finish and manufactured from rubber wood which is classified as a hardwood and engineered timber. Featuring a combination of book shelves cupboard and drawer this is a practical and versatile option. Subtle details include gentle radius corners and finger pull doors. If your looking for a well designed cabin bed with no veneering and chipboard insight then, this maybe the perfect option for you.
ToolsMaterials
|