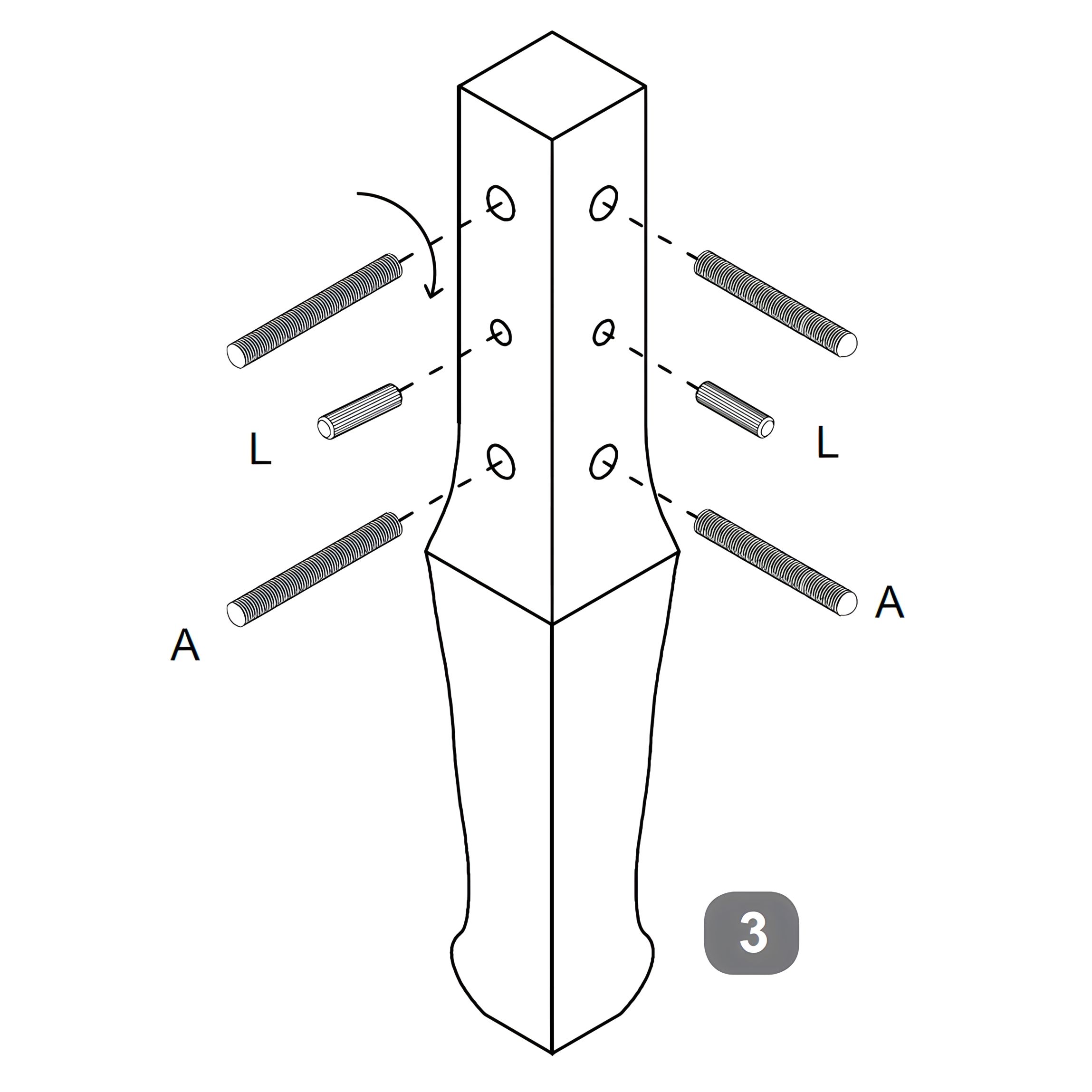
1. Prepare the Footboard Legs
- Insert 4 threaded studs (A) into the designated holes on one footboard leg.
- Insert 2 dowels (L) into the remaining holes.
- Ensure all hardware is securely in place.
Repeat the process for the other footboard leg
www.time4sleep.co.uk |
Instructions by time4sleep Versailles Winged Upholstered Bed FrameAssembly instructions for Versailles Winged Upholstered Bed Frame by Time4Sleep Product Information Versailles Winged Upholstered Bed FrameThe Versailles Standard Bed features a classic, elegant headboard and sturdy footboard design, supported by durable side rails and a central support system for enhanced stability. It includes strong wooden slats with secure plastic caps to ensure long-lasting comfort and support. Available in Double, King, and Super King sizes, it offers timeless style and solid construction for a restful night's sleep.
ToolsMaterials
|